

|
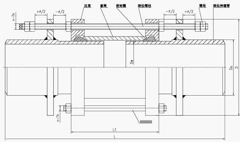
序号
|
名称
|
数量
|
材料
|
|
1
|
压盖
|
2
|
QT400-15、Q235A、ZG230-450、20
|
|
2
|
套筒
|
1
|
Q235A、20、16Mn
|
|
3
|
密封圈
|
2
|
NBR
|
|
4
|
限位短管
|
2
|
Q235A、20、16Mn
|
|
5
|
螺母
|
Tn
|
Q235A、35、1Cr18Ni9Ti
|
|
6
|
长螺母
|
n
|
Q235A、35、1Cr18Ni9Ti
|
|
7
|
螺柱
|
n
|
Q235A、35、1Cr18Ni9Ti
|
|
公称通径DN
|
管子外径
|
外形尺寸
|
伸缩量△L
|
n-Th
|
||||
|
DW
|
Do
|
D
|
L
|
L1
|
0.6-1.6MPa
|
2.5MPa
|
||
|
65
|
76
|
76
|
155
|
645
|
180
|
90
|
2-M12
|
2-M12
|
|
80
|
89
|
89
|
165
|
|||||
|
100
|
108
|
108
|
190
|
2-M16
|
||||
|
114
|
114
|
195
|
||||||
|
125
|
133
|
133
|
215
|
|||||
|
140
|
140
|
225
|
||||||
|
150
|
159
|
159
|
245
|
2-M16
|
3-M16
|
|||
|
168
|
168
|
255
|
||||||
|
200
|
219
|
219
|
310
|
645
|
180
|
90
|
2-M16
|
3-M16
|
|
250
|
276
|
276
|
375
|
3-M20
|
4-M20
|
|||
|
300
|
325
|
325
|
440
|
655
|
220
|
110
|
5-M20
|
|
|
350
|
377
|
377
|
490
|
4-M20
|
||||
|
400
|
426
|
426
|
540
|
|||||
|
450
|
480
|
480
|
590
|
5-M20
|
6-M20
|
|||
|
500
|
530
|
530
|
645
|
|||||
|
600
|
630
|
630
|
750
|
|||||
|
700
|
720
|
720
|
850
|
6-M20
|
7-M20
|
|||
|
800
|
820
|
826
|
965
|
1075
|
290
|
150
|
6-M24
|
8-M24
|
|
900
|
920
|
926
|
4065
|
7-M24
|
9-M24
|
|||
|
1000
|
1020
|
1026
|
1165
|
|||||
|
1200
|
1220
|
1226
|
1365
|
8-M24
|
10-M24
|
|||
|
1400
|
1420
|
1428
|
1590
|
9-M27
|
12-M27
|
|||
|
1500
|
1520
|
1528
|
1690
|
|||||
|
1600
|
1620
|
1628
|
1795
|
10-M27
|
14-M27
|
|||
|
1800
|
1820
|
1828
|
2000
|
11-M27
|
15-M30
|
|||
|
2000
|
2020
|
2030
|
2200
|
12-M27
|
16-M30
|
|||
|
2200
|
2220
|
2230
|
2420
|
13-M27
|
|
|||
|
2400
|
2420
|
2430
|
2635
|
14-M30
|
||||
|
2600
|
2620
|
2630
|
2835
|
15-M30
|
||||
|
2800
|
2820
|
2830
|
3040
|
16-M33
|
||||
|
3000
|
3020
|
3030
|
3240
|
17-M33
|
||||